Структурный подход к проектированию ИС
- Подробности
- Просмотров: 30682
Сущность структурного подхода к разработке ИС заключается в ее декомпозиции (разбиении) на автоматизируемые функции: система разбивается на функциональные подсистемы, которые в свою очередь делятся на подфункции, подразделяемые на задачи и так далее. Процесс разбиения продолжается вплоть до конкретных процедур. При этом автоматизируемая система сохраняет целостное представление, в котором все составляющие компоненты взаимоувязаны. При разработке системы "снизу-вверх" от отдельных задач ко всей системе целостность теряется, возникают проблемы при информационной стыковке отдельных компонентов.
Все наиболее распространенные методологии структурного подхода [9,11,12,13] базируются на ряде общих принципов [3]. В качестве двух базовых принципов используются следующие:
- принцип "разделяй и властвуй" - принцип решения сложных проблем путем их разбиения на множество меньших независимых задач, легких для понимания и решения;
- принцип иерархического упорядочивания - принцип организации составных частей проблемы в иерархические древовидные структуры с добавлением новых деталей на каждом уровне.
Выделение двух базовых принципов не означает, что остальные принципы являются второстепенными, поскольку игнорирование любого из них может привести к непредсказуемым последствиям (в том числе и к провалу всего проекта). Основными из этих принципов являются следующие:
- принцип абстрагирования - заключается в выделении существенных аспектов системы и отвлечения от несущественных;
- принцип формализации - заключается в необходимости строгого методического подхода к решению проблемы;
- принцип непротиворечивости - заключается в обоснованности и согласованности элементов;
- принцип структурирования данных - заключается в том, что данные должны быть структурированы и иерархически организованы.
В структурном анализе используются в основном две группы средств, иллюстрирующих функции, выполняемые системой и отношения между данными. Каждой группе средств соответствуют определенные виды моделей (диаграмм), наиболее распространенными среди которых являются следующие:
- SADT (Structured Analysis and Design Technique) модели и соответствующие функциональные диаграммы (подраздел 2.2);
- DFD (Data Flow Diagrams) диаграммы потоков данных (подраздел 2.3);
- ERD (Entity-Relationship Diagrams) диаграммы "сущность-связь" (подраздел 2.4).
На стадии проектирования ИС модели расширяются, уточняются и дополняются диаграммами, отражающими структуру программного обеспечения: архитектуру ПО, структурные схемы программ и диаграммы экранных форм.
Перечисленные модели в совокупности дают полное описание ИС независимо от того, является ли она существующей или вновь разрабатываемой. Состав диаграмм в каждом конкретном случае зависит от необходимой полноты описания системы.
Методология функционального моделирования SADT
- Методология SADT разработана Дугласом Россом. На ее основе разработана, в частности, известная методология IDEF0 (Icam DEFinition), которая является основной частью программы ICAM (Интеграция компьютерных и промышленных технологий), проводимой по инициативе ВВС США.
- Методология SADT представляет собой совокупность методов, правил и процедур, предназначенных для построения функциональной модели объекта какой-либо предметной области. Функциональная модель SADT отображает функциональную структуру объекта, т.е. производимые им действия и связи между этими действиями. Основные элементы этой методологии основываются на следующих концепциях:
- графическое представление блочного моделирования. Графика блоков и дуг SADT-диаграммы отображает функцию в виде блока, а интерфейсы входа/выхода представляются дугами, соответственно входящими в блок и выходящими из него. Взаимодействие блоков друг с другом описываются посредством интерфейсных дуг, выражающих "ограничения", которые в свою очередь определяют, когда и каким образом функции выполняются и управляются;
- строгость и точность. Выполнение правил SADT требует достаточной строгости и точности, не накладывая в то же время чрезмерных ограничений на действия аналитика. Правила SADT включают:
- ограничение количества блоков на каждом уровне декомпозиции (правило 3-6 блоков);
- связность диаграмм (номера блоков);
- уникальность меток и наименований (отсутствие повторяющихся имен);
- синтаксические правила для графики (блоков и дуг);
- разделение входов и управлений (правило определения роли данных).
- отделение организации от функции, т.е. исключение влияния организационной структуры на функциональную модель.
- Методология SADT может использоваться для моделирования широкого круга систем и определения требований и функций, а затем для разработки системы, которая удовлетворяет этим требованиям и реализует эти функции. Для уже существующих систем SADT может быть использована для анализа функций, выполняемых системой, а также для указания механизмов, посредством которых они осуществляются.
-
Состав функциональной модели
- Результатом применения методологии SADT является модель, которая состоит из диаграмм, фрагментов текстов и глоссария, имеющих ссылки друг на друга. Диаграммы - главные компоненты модели, все функции ИС и интерфейсы на них представлены как блоки и дуги. Место соединения дуги с блоком определяет тип интерфейса. Управляющая информация входит в блок сверху, в то время как информация, которая подвергается обработке, показана с левой стороны блока, а результаты выхода показаны с правой стороны. Механизм (человек или автоматизированная система), который осуществляет операцию, представляется дугой, входящей в блок снизу (рисунок 6.5).
- Одной из наиболее важных особенностей методологии SADT является постепенное введение все больших уровней детализации по мере создания диаграмм, отображающих модель.

- Функциональный блок и интерфейсные дуги
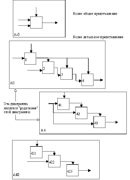
- На рисунке 6.6, где приведены четыре диаграммы и их взаимосвязи, показана структура SADT-модели. Каждый компонент модели может быть декомпозирован на другой диаграмме. Каждая диаграмма иллюстрирует "внутреннее строение" блока на родительской диаграмме.
-
Иерархия диаграмм
- Построение SADT-модели начинается с представления всей системы в виде простейшей компоненты - одного блока и дуг, изображающих интерфейсы с функциями вне системы. Поскольку единственный блок представляет всю систему как единое целое, имя, указанное в блоке, является общим. Это верно и для интерфейсных дуг - они также представляют полный набор внешних интерфейсов системы в целом.
- Затем блок, который представляет систему в качестве единого модуля, детализируется на другой диаграмме с помощью нескольких блоков, соединенных интерфейсными дугами. Эти блоки представляют основные подфункции исходной функции. Данная декомпозиция выявляет полный набор подфункций, каждая из которых представлена как блок, границы которого определены интерфейсными дугами. Каждая из этих подфункций может быть декомпозирована подобным образом для более детального представления.
- Во всех случаях каждая подфункция может содержать только те элементы, которые входят в исходную функцию. Кроме того, модель не может опустить какие-либо элементы, т.е., как уже отмечалось, родительский блок и его интерфейсы обеспечивают контекст. К нему нельзя ничего добавить, и из него не может быть ничего удалено.
- Модель SADT представляет собой серию диаграмм с сопроводительной документацией, разбивающих сложный объект на составные части, которые представлены в виде блоков. Детали каждого из основных блоков показаны в виде блоков на других диаграммах. Каждая детальная диаграмма является декомпозицией блока из более общей диаграммы. На каждом шаге декомпозиции более общая диаграмма называется родительской для более детальной диаграммы.
- Дуги, входящие в блок и выходящие из него на диаграмме верхнего уровня, являются точно теми же самыми, что и дуги, входящие в диаграмму нижнего уровня и выходящие из нее, потому что блок и диаграмма представляют одну и ту же часть системы.

-
Рис. 6.6. Структура SADT-модели. Декомпозиция диаграмм.
На рисунках 6.7 - 6.9 представлены различные варианты выполнения функций и соединения дуг с блоками.

Рис. 6.7. Одновременное выполнение

Рис. 6.8. Соответствие должно быть полным и непротиворечивым - Некоторые дуги присоединены к блокам диаграммы обоими концами, у других же один конец остается неприсоединенным. Неприсоединенные дуги соответствуют входам, управлениям и выходам родительского блока. Источник или получатель этих пограничных дуг может быть обнаружен только на родительской диаграмме. Неприсоединенные концы должны соответствовать дугам на исходной диаграмме. Все граничные дуги должны продолжаться на родительской диаграмме, чтобы она была полной и непротиворечивой.
- На SADT-диаграммах не указаны явно ни последовательность, ни время. Обратные связи, итерации, продолжающиеся процессы и перекрывающиеся (по времени) функции могут быть изображены с помощью дуг. Обратные связи могут выступать в виде комментариев, замечаний, исправлений и т.д. (рисунок 6.9).

Рис. 6.9. Пример обратной связи - Как было отмечено, механизмы (дуги с нижней стороны) показывают средства, с помощью которых осуществляется выполнение функций. Механизм может быть человеком, компьютером или любым другим устройством, которое помогает выполнять данную функцию (рисунок 6.10).

Рис. 6.10. Пример механизма - Каждый блок на диаграмме имеет свой номер. Блок любой диаграммы может быть далее описан диаграммой нижнего уровня, которая, в свою очередь, может быть далее детализирована с помощью необходимого числа диаграмм. Таким образом, формируется иерархия диаграмм.
- Для того, чтобы указать положение любой диаграммы или блока в иерархии, используются номера диаграмм. Например, А21 является диаграммой, которая детализирует блок 1 на диаграмме А2. Аналогично, А2 детализирует блок 2 на диаграмме А0, которая является самой верхней диаграммой модели. На рисунке 6.11 показано типичное дерево диаграмм.

- Рис. 6.11. Иерархия диаграмм
-
6.2.2.3. Типы связей между функциями
- Одним из важных моментов при проектировании ИС с помощью методологии SADT является точная согласованность типов связей между функциями. Различают по крайней мере семь типов связывания:
Тип связи Относительная значимость Случайная 0 Логическая 1 Временная 2 Процедурная 3 Коммуникационная 4 Последовательная 5 Функциональная 6
-


